Z5000-BF Series IP65/IP54 Waterproof Inverter
Product Introduction
- Built-in EMC filter,remove current impurities;
- It has IP65/IP54 dustproof and waterproof functions, and can be used in damp and dirty environments;
- Increase the heat sink size, with excellent heat dissipation performance;
- It has the function of waterless shutdown, which can automatically shut down when there is a water shortage, effectively protecting the equipment from damage. At the same time, it also has multiple functions such as timing, anti-freezing, fault pump replacement, and water supply alarm, making the operation of the equipment more intelligent and user-friendly;
- Mounted directly on the motor or to the wall;
- Allow for heavy load equipment;
- Power range:220V 0.75-2.2KW 380V 0.75-132KW
- Application:
Food and packaging industry: IP65 enclosure can be directly washed and complies with GMP standards of the food industry;
Pump industry: When sewage splashes onto the VFD housing, it can effectively prevent the occurrence of short circuits in the vfd;
Chemical and petrochemicals: Effectively protects against corrosive gases and liquids, meeting the environmental requirements of the chemical industry;
All other application scenarios that require IP65/54 standards.
Technology character
| Item | Z5000-BF |
| Control mode | Sensorless flux vector control (SFVC); Voltage/Frequency (V/F) control |
| Maximum frequency | Vector control: 0-320 Hz; V/F control: 0-3200Hz |
| Carrier frequency | 1-16kHz; The carrier frequency is automatically adjusted based on the load features. |
| Input frequency resolution | Digital setting: 0.01 Hz; Analog setting: maximum frequency x 0.025% |
| Startup torque | G type: 0.5 Hz/150% (SFVC); P type: 0.5 Hz/100% |
| Speed range | 1:100 (SFVC) |
| Speed stability accuracy | ±0.5%(SFVC) |
| Overload capacity | G type: 60s for 150% of the rated current, 3s for 180% of the rated current P type: 60s for 120% of the rated current, 3s for 150% of the rated current. |
| Torque boost | Fixed boost; Customized boost 0.1%-30.0% |
| V/F curve | Straight-line V/F curve; Multi-point V/F curve; N-power V/F curve (1.2-power, 1.4-power, 1.6-power,1.8-power, square) |
| V/F separation | Two types: complete separation; half separation |
| Ramp mode | S-curve ramp; Straight-line ramp; Four groups of acceleration/deceleration time with the range of 0.0-6500.0s |
| DC braking | DC braking frequency: 0.00 Hz to maximum frequency; Braking time: 0.0-100.0s; Braking action current value: 0.0%-100.0% |
| JOG control | JOG frequency range: 0.00-50.00 Hz JOG acceleration/deceleration time: 0.0-6500.0s |
| Onboard multiple preset speeds | It implements up to 16 speeds via the simple PLC function or combination of X terminal states |
| Onboard PID | It realizes process-controlled closed loop control system easily. |
| Auto voltage regulation (AVR) | It can keep constant output voltage automatically when the mains voltage changes. |
| Overvoltage/ Overcurrent stall control | The current and voltage are limited automatically during the running process so as to avoid frequent tripping due to overvoltage/over current. |
| Torque limit and control | It can limit the torque automatically and prevent frequent over current tripping during the running process. |
| Instantaneous stop doesn't stop | The load feedback energy compensates the voltage reduction so that the AC drive can continue to run for a short time. |
| Rapid current limit | It helps to avoid frequent over current faults of the AC drive. |
| High performance | Control of asynchronous motor is implemented through the high-performance current vector control technology. |
| Timing control | Time range: 0.0-6500.0 minutes |
| Communication methods | RS485 |
| Running command channel | Given by the panel, control terminals, Serial communication, can be switched by many ways |
| Frequency source | 10 kinds of frequency source, given by Digital analog voltage, analog current, Pulse, serial port, can be switched by many ways |
| Auxiliary frequency source | 10 kinds of Frequency source, can easily realize Micro adjustment, frequency Synthesizer |
| Input terminals | 6 digital input terminals, one of which supports up to 100 kHz high-speed pulse input (optional). 2 analog input terminal, one of which only supports 0-10V voltage input and the other supports 0-10V voltage input or 4-20mA current input. |
| Output terminal | 1 digital output terminal; 1 relay output terminal; 1 analog output terminal :that supports 0-20 mA current output or 0-10 V voltage output |
| LED display | It displays the parameters. |
| Key locking and function selection | It can lock the keys partially or completely and define the function range of some keys so as to prevent mis-function. |
| Protection mode | Motor short-circuit detection at power-on, output phase loss protection, over-current protection, over-voltage protection, under voltage protection, overheat protection and overload protection. |
| Structure | Cooling Mode: Forced air cooling or Natural coolingProtective Structure: IP65 |
Description of nameplate

Selection guide
| Model | Rated ouput power/kW | Rated input current/A | Rated output current/A | Motor power/kW |
| AC 220V±15% 1PH | ||||
| Z5200A0D75K-BF | 0.75 | 7.2 | 5 | 0.75 |
| Z5200A01D5K-BF | 1.5 | 10 | 7 | 1.5 |
| Z5200A02D2K-BF | 2.2 | 16 | 11 | 2.2 |
| AC 380V±15% 3PH | ||||
| Z5400A0D75K-BF | 0.75 | 3.8 | 2.5 | 0.75 |
| Z5400A01D5K-BF | 1.5 | 5 | 3.7 | 1.5 |
| Z5400A02D2K-BF | 2.2 | 5.8 | 5 | 2.2 |
| Z5400A03D7K-BF | 3.7 | 10 | 9 | 3.7 |
| Z5400A05D5K-BF | 5.5 | 15 | 13 | 5.5 |
| Z5400A07D5K-BF | 7.5 | 20 | 17 | 7.5 |
| Z5400A0011K-BF | 11 | 26 | 25 | 11 |
| Z5400A0015K-BF | 15 | 35 | 32 | 15 |
| Z5400A0018K-BF | 18 | 38 | 37 | 18 |
| Z5400A0022K-BF | 22 | 46 | 45 | 22 |
| Z5400A0030K-BF | 30 | 62 | 60 | 30 |
| Z5400A0037K-BF | 37 | 76 | 75 | 37 |
| Z5400A0045K-BF | 45 | 90 | 90 | 45 |
| Z5400A0055K-BF | 55 | 105 | 110 | 55 |
| Z5400A0075K-BF | 75 | 140 | 150 | 75 |
| Z5400A0090K-BF | 90 | 160 | 176 | 90 |
| Z5400A0110K-BF | 110 | 210 | 210 | 110 |
| Z5400A0132K-BF | 132 | 240 | 253 | 132 |
| Z5400A0160K-BF | 160 | 290 | 300 | 160 |
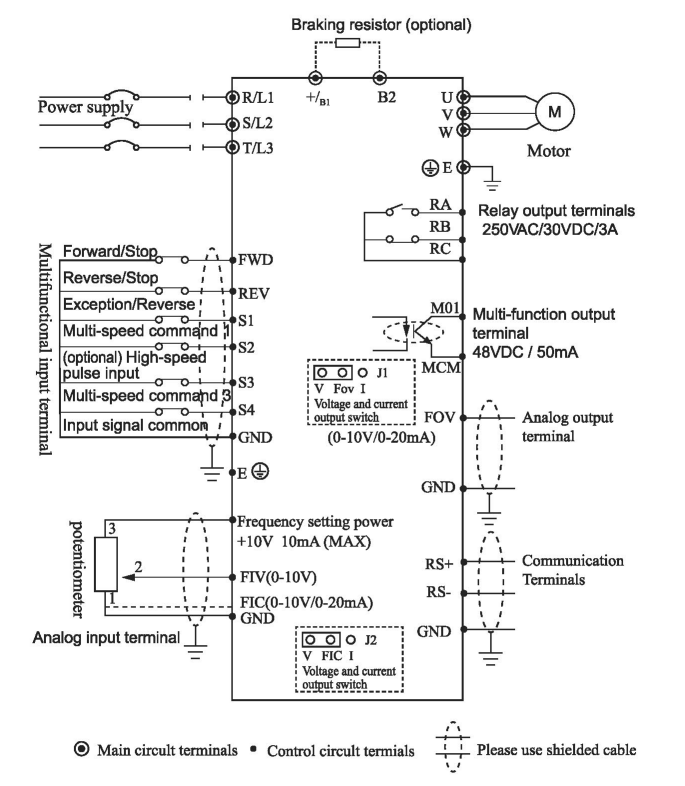
Wiring diagram

Copyright © Copyright:ZONCN Record number:1943255 sitemap(Baidu / Google)
Technical SupportJinfeng Operations 统计代码放置
administrator
There are currently no comments on this content